タイムカード画面では、打刻された出勤時間/退勤時間/休憩時間を確認できます。
- 出勤簿から手入力された打刻時間、打刻補正申請により補正された時間は表示されません。
検索エリアに、検索したい期間(対象年月)を入力してください。出勤簿の当月が初期入力されています。
| 期間 | 検索対象の期間を指定してください。(年月) |
| 当月 |
当月分を表示させたい場合にチェックしてください。 初期入力は当月です。期間を変更した後に、当月を入力したい場合にご利用ください。 |
| 勤務体系 |
一日複数回出勤する場合など、勤務体系で絞り込みたい場合にご利用ください。 割当てられている勤務体系から選択できます。 |
「検索」ボタンをクリックして、1か月の打刻情報を表示します。
- 1か月は、出勤簿の対象期間と同様です。
(例)勤怠10日締めの場合、3月で検索すると2/11~3/10が表示されます。
|
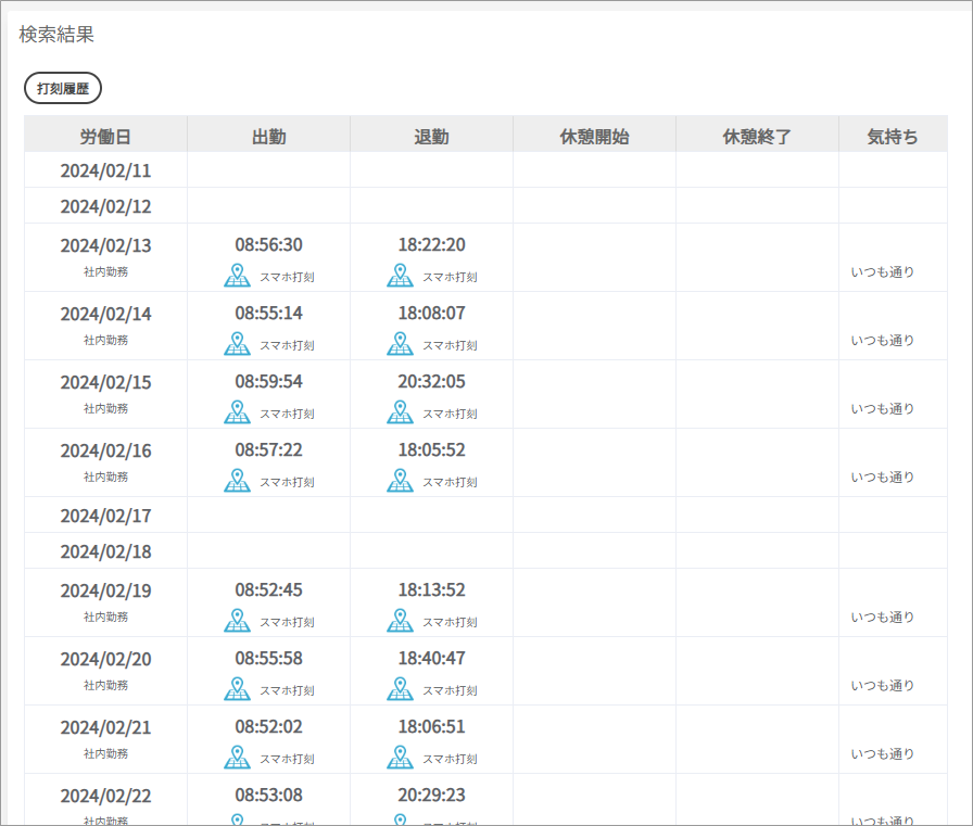
打刻履歴の一覧を確認できます。 短い時間に続けて打刻をした時等に、打刻が反映されないことがあります。その場合、実際にユーザが打刻を時間をこの一覧で確認することができます。反映されなかった打刻は「失敗」と表示されます。 |
|
| 労働日 |
上段:打刻した日付 ※始業時間9:00の場合、翌朝の9:00までは前日として表示されます。 (例) 1月10日 8:50出勤 / 翌朝5:30退勤の場合、退勤は、1月10日 29:30となります。 下段:打刻した勤務体系 |
| 出勤 |
出勤時間 スマホ打刻の場合、地図アイコンを押下することで打刻位置を確認できます。 |
| 退勤 |
退勤時間 |
| 休憩開始 |
休憩開始時間 |
| 休憩終了 |
出勤終了時間 |
| 気持ち |
スマイルマーク 会社設定でONにしてる場合、スマホ打刻画面で現在の「気持ち」を選択することができます。 出勤→いつも通り 退勤→ストレス とした場合、気持ちはストレスとして登録されます。 ※「気持ち」はタイムカード画面にのみ表示され、本人のみが参照できます。 |
一日に違う勤務体系で打刻した場合
違う勤務体系で打刻した場合は2行になり出退勤の時刻が表示されます。
コメント
0件のコメント
サインインしてコメントを残してください。